Рисунки для срисовки и не только Папик.Про


рисунок поршня простой для срисовки

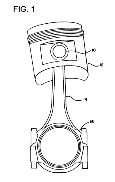
Рисунок поршня представляет собой простую и понятную схематическую графику, которая отображает основные элементы и детали этого устройства. Поршень является одной из ключевых частей двигателя внутреннего сгорания и выполняет роль перемещающегося элемента в цилиндре. Визуально рисунок поршня отражает его форму, размеры, а также наличие канавок, пазов или других особенностей, которые могут быть характерными для конкретной модели или типа двигателя. Благодаря такому рисунку, можно легко понять устройство и принцип работы поршня, что может быть полезно при изучении технических аспектов автомобилей или других механизмов, в которых используется данная деталь.


Поршень иконка
Поршень иконка

Скрещенные поршни двигателя
Скрещенные поршни двигателя

Поршень зарисовки
Поршень зарисовки

Поршень карандашом
Поршень карандашом

Поршень с шатуном эскизы
Поршень с шатуном эскизы

Поршень на белом фоне
Поршень на белом фоне

Поршень контур
Поршень контур

Поршень контур
Поршень контур

Поворотный поршень icon
Поворотный поршень icon

Эскиз поршневого пальца поршня ВАЗ-343
Эскиз поршневого пальца поршня ВАЗ-343

Поршень без фона
Поршень без фона

Поршни эскиз тату
Поршни эскиз тату

Поршень с шатуном для самосвала вектор
Поршень с шатуном для самосвала вектор

Шатун и поршень скрещены рисунок
Шатун и поршень скрещены рисунок

Поршни эскиз
Поршни эскиз

Поршень нарисованный
Поршень нарисованный

Поршень с шатуном мотоцикла
Поршень с шатуном мотоцикла

Эскиз поршня двигателя
Эскиз поршня двигателя

Поршень иконка
Поршень иконка

Поршень эскиз
Поршень эскиз

Поршень вектор
Поршень вектор

Ключ и поршень
Ключ и поршень

Поршень иконка
Поршень иконка

Мультяшный поршень с шатуном
Мультяшный поршень с шатуном

Поршень контур
Поршень контур

Поршень наклейка
Поршень наклейка

Трафарет поршень
Трафарет поршень

Поршень иконка
Поршень иконка

Поршень эскиз
Поршень эскиз

Эскиз двигателя
Эскиз двигателя

Поршень значок
Поршень значок

Поршень и шатун схематично
Поршень и шатун схематично

Поршень и гаечный ключ
Поршень и гаечный ключ

Мультяшный поршень
Мультяшный поршень

Поршень логотип
Поршень логотип

Наклейки на авто поршни
Наклейки на авто поршни

Поршень с кольцами JCB 4cx
Поршень с кольцами JCB 4cx

Поршень логотип
Поршень логотип

Поршень эскиз
Поршень эскиз

Поршень с шатуном логотип
Поршень с шатуном логотип

Поршень нарисованный
Поршень нарисованный

Эскиз двигателя
Эскиз двигателя

Поршень эскиз
Поршень эскиз

Поршни логотип
Поршни логотип

Поршень эскиз
Поршень эскиз

Смотрите онлайн или можете скачать на телефон или компьютер в хорошем качестве совешенно бесплатно. Не забывайте оставить комментарий и посмотреть другие фотографии и изображения высокого качества, например ролл простой рисунок и простой рисунок туфли из раздела Простые рисунки


Уважаемый посетитель, Вы зашли на сайт как незарегистрированный пользователь. Мы рекомендуем Вам зарегистрироваться либо зайти на сайт под своим именем.