Рисунки для срисовки и не только Папик.Про


реактивный двигатель рисунок для срисовки

Реактивный двигатель - это устройство, используемое для создания тяги в воздушном или космическом транспорте. Он основан на принципе действия третьего закона Ньютона, который гласит, что каждое действие вызывает равное и противоположное противодействие. Рисунок реактивного двигателя позволяет наглядно представить его строение и принцип работы. В нем изображены основные компоненты: сопло, камера сгорания, турбина и компрессор. Сопло направляет выхлопные газы, создавая тягу. Камера сгорания смешивает топливо и кислород, обеспечивая горение и выработку энергии. Турбина и компрессор отвечают за подачу воздуха и его сжатие внутри двигателя. Все эти элементы работают синхронно, обеспечивая мощность и эффективность реактивного двигателя. Рисунок помогает лучше понять устройство и принцип работы этого важного элемента транспортных систем.


Воздушно-реактивный двигатель схема
Воздушно-реактивный двигатель схема

Реактивный двигатель принцип работы
Реактивный двигатель принцип работы

Реактивная турбина схема
Реактивная турбина схема

Реактивный двигатель принцип работы и устройство
Реактивный двигатель принцип работы и устройство

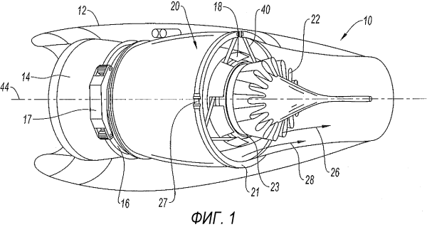
Реактивный двигатель схема
Реактивный двигатель схема

Реактивный двигатель схема устройства
Реактивный двигатель схема устройства

Реактивный двигатель схема
Реактивный двигатель схема

Воздушно-реактивный двигатель схема
Воздушно-реактивный двигатель схема

Реактивный двигатель схема
Реактивный двигатель схема

Турбореактивный двигатель вид сзади на ракетах
Турбореактивный двигатель вид сзади на ракетах

Строение реактивного двигателя
Строение реактивного двигателя

Тепловые двигатели реактивные двигатели принцип работы
Тепловые двигатели реактивные двигатели принцип работы

Устройство турбореактивного двигателя самолета схема
Устройство турбореактивного двигателя самолета схема

Реактивные авиадвигатели. Схемы.
Реактивные авиадвигатели. Схемы.

Схематичное изображение реактивного двигателя
Схематичное изображение реактивного двигателя

Паровая и газовая турбина схема
Паровая и газовая турбина схема

Конструктивная схема турбореактивного двигателя ТРД
Конструктивная схема турбореактивного двигателя ТРД

Устройство турбовентиляторного двигателя самолета
Устройство турбовентиляторного двигателя самолета

Схема двухконтурного турбореактивного авиационного двигателя
Схема двухконтурного турбореактивного авиационного двигателя

Устройство турбореактивного двигателя самолета схема
Устройство турбореактивного двигателя самолета схема

Схема реактивного двигателя ракеты
Схема реактивного двигателя ракеты

Принципиальная схема турбовинтового двигателя
Принципиальная схема турбовинтового двигателя

Турбореактивный двигатель для авиамоделей чертежи
Турбореактивный двигатель для авиамоделей чертежи

Реактивный двигатель
Реактивный двигатель

Схема двухконтурного турбореактивного авиационного двигателя
Схема двухконтурного турбореактивного авиационного двигателя

Реактивный двигатель схема
Реактивный двигатель схема

Компрессоры высокого и низкого давления турбореактивного двигателя
Компрессоры высокого и низкого давления турбореактивного двигателя

Схема газовой турбины двигателя ГТД
Схема газовой турбины двигателя ГТД

Реактивный двигатель схема
Реактивный двигатель схема

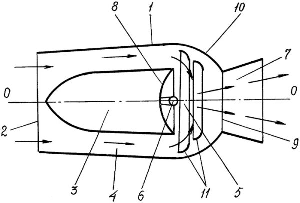
Принципиальная схема реактивного двигателя
Принципиальная схема реактивного двигателя

Прямоточный ВРД схема
Прямоточный ВРД схема

Схема реактивного двигателя самолета
Схема реактивного двигателя самолета

Схема турбореактивного двигателя самолета
Схема турбореактивного двигателя самолета

Gp7200 двигатель
Gp7200 двигатель

Реактивный двигатель схема принцип работы
Реактивный двигатель схема принцип работы

Реактивный двигатель
Реактивный двигатель

Презентация на тему реактивный двигатель
Презентация на тему реактивный двигатель

Схема газовой турбины двигателя ГТД
Схема газовой турбины двигателя ГТД

Камеры сгорания газотурбинных двигателей
Камеры сгорания газотурбинных двигателей

Чертеж реактивного двигателя
Чертеж реактивного двигателя

Схема реактивного двигателя физика
Схема реактивного двигателя физика

Простой турбореактивный двигатель схема
Простой турбореактивный двигатель схема

Схема двухконтурного турбореактивного двигателя
Схема двухконтурного турбореактивного двигателя

Реактивный двигатель с центробежным компрессором
Реактивный двигатель с центробежным компрессором

Аэродинамика реактивного двигателя
Аэродинамика реактивного двигателя

Турбинный двигатель рисунок
Турбинный двигатель рисунок

Kurzke Propulsion and Power
Kurzke Propulsion and Power

Chrysler Turbine car чертеж
Chrysler Turbine car чертеж

Смотрите онлайн или можете скачать на телефон или компьютер в хорошем качестве совешенно бесплатно. Не забывайте оставить комментарий и посмотреть другие фотографии и изображения высокого качества, например коническая юбка рисунок и шапочка новогодняя рисунок из раздела Рисунки


Уважаемый посетитель, Вы зашли на сайт как незарегистрированный пользователь. Мы рекомендуем Вам зарегистрироваться либо зайти на сайт под своим именем.