Рисунки для срисовки и не только Папик.Про


простой рисунок электродвигателя для срисовки

Простой рисунок электродвигателя можно представить как устройство, которое преобразует электрическую энергию в механическую. Он состоит из нескольких основных элементов: статора, ротора, обмотки и оси. Статор - это неподвижная часть двигателя, состоящая из обмоток, ферромагнитного сердечника и других деталей. Ротор - это вращающаяся часть, которая подвергается воздействию магнитного поля, создаваемого статором. Обмотка служит для передачи электрического тока в статор и ротор, что позволяет генерировать магнитное поле. Ось же является основным элементом, на котором крепится ротор и который обеспечивает его вращение. Вместе все эти компоненты создают работающий электродвигатель, который находит широкое применение в различных областях промышленности и быта.


Принцип работы электромотора постоянного тока
Принцип работы электромотора постоянного тока

Схема электродвигателя постоянного тока
Схема электродвигателя постоянного тока

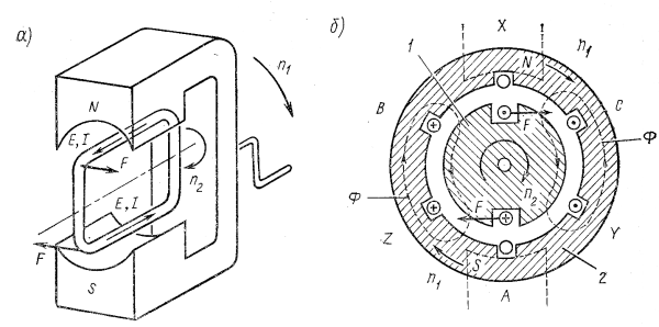
Упрощенная модель синхронного генератора
Упрощенная модель синхронного генератора

Схема электродвигателя лабораторного
Схема электродвигателя лабораторного

Обмотки электродвигателя постоянного тока
Обмотки электродвигателя постоянного тока

Схема электродвигателя постоянного тока
Схема электродвигателя постоянного тока

Электродвигатель vector s60 d790s4
Электродвигатель vector s60 d790s4

Схема электродвигателя постоянного тока
Схема электродвигателя постоянного тока

Устройство асинхронного электродвигателя схема
Устройство асинхронного электродвигателя схема

Электродвигатель vector s60 d790s4
Электродвигатель vector s60 d790s4

Электродвигатель схематично
Электродвигатель схематично

Электродвигатель постоянного тока ПГ 133-4к
Электродвигатель постоянного тока ПГ 133-4к

Рисунок электродвигателя постоянного тока схематично
Рисунок электродвигателя постоянного тока схематично

Чертёж ротора электродвигателя МТН
Чертёж ротора электродвигателя МТН

Электродвигатель постоянного тока схема устройства
Электродвигатель постоянного тока схема устройства

Схема якоря генератора постоянного тока
Схема якоря генератора постоянного тока

Устройство электродвигателя простая схема
Устройство электродвигателя простая схема

Асинхронный электродвигатель схема
Асинхронный электродвигатель схема

Схемы возбуждения обмоток якоря машин постоянного тока
Схемы возбуждения обмоток якоря машин постоянного тока

Схема электродвигателя постоянного тока
Схема электродвигателя постоянного тока

Коллекторный электродвигатель постоянного тока схема
Коллекторный электродвигатель постоянного тока схема

Схема работы электродвигателя постоянного тока
Схема работы электродвигателя постоянного тока

Электродвигатель схема физика
Электродвигатель схема физика

Схема простейшего электрического двигателя постоянного тока
Схема простейшего электрического двигателя постоянного тока

Трехфазный асинхронный двигатель схема
Трехфазный асинхронный двигатель схема

Схема синхронного двигателя переменного тока
Схема синхронного двигателя переменного тока

Электродвигатель постоянного тока физика 8 класс
Электродвигатель постоянного тока физика 8 класс

Строение электродвигателя схема
Строение электродвигателя схема

Схема генератора переменного тока 380 в
Схема генератора переменного тока 380 в

Устройство Эл машины постоянного тока схема
Устройство Эл машины постоянного тока схема

Схема асинхронного двигателя с короткозамкнутым ротором
Схема асинхронного двигателя с короткозамкнутым ротором

Устройство электродвигателя переменного тока схема
Устройство электродвигателя переменного тока схема

Простая схема электродвигателя
Простая схема электродвигателя

Конструкция генератора постоянного тока
Конструкция генератора постоянного тока

Двигатель постоянного тока схема устройства
Двигатель постоянного тока схема устройства

Электродвигатель постоянного тока 8 класс
Электродвигатель постоянного тока 8 класс

Электродвигатель переменного тока теория схема
Электродвигатель переменного тока теория схема

Устройство простейшего электродвигателя схема
Устройство простейшего электродвигателя схема

Схема электрогенератора переменного тока 220в
Схема электрогенератора переменного тока 220в

Схема подключения электродвигателя постоянного тока
Схема подключения электродвигателя постоянного тока

Электромагнитный ротор двигатель
Электромагнитный ротор двигатель

Смотрите онлайн или можете скачать на телефон или компьютер в хорошем качестве совешенно бесплатно. Не забывайте оставить комментарий и посмотреть другие фотографии и изображения высокого качества, например хамелеон простой рисунок и рисунок простой сердца из раздела Простые рисунки


Уважаемый посетитель, Вы зашли на сайт как незарегистрированный пользователь. Мы рекомендуем Вам зарегистрироваться либо зайти на сайт под своим именем.