Рисунки для срисовки и не только Папик.Про


технический рисунок детали для срисовки

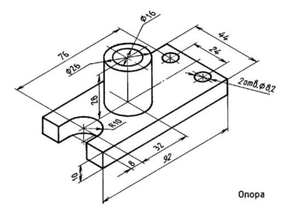
Технический рисунок детали - это графическое изображение детали, которое позволяет полно и точно описать ее форму, размеры, габариты, конструктивные особенности и требования к материалу. Такой рисунок является основным инструментом для проектирования и изготовления деталей в различных отраслях промышленности. Он включает в себя все необходимые размеры, углы, толщины стенок и другие характеристики, что позволяет точно воспроизвести деталь на производстве. Технический рисунок детали играет ключевую роль в процессе проектирования и обеспечивает точность и надежность изготовления детали.


Технический рисунок
Технический рисунок

Построение технического рисунка детали
Построение технического рисунка детали

Технический рисунок пример
Технический рисунок пример

Штриховка цилиндрических поверхностей
Штриховка цилиндрических поверхностей

Техническое рисование черчение
Техническое рисование черчение

Инженерная Графика Светотень
Инженерная Графика Светотень

Технический технический рисунок это
Технический технический рисунок это

Технология выполнения технического рисунка
Технология выполнения технического рисунка

Технический рисунок
Технический рисунок

Выполнение технического рисунка детали
Выполнение технического рисунка детали

Построение недостающего вида детали
Построение недостающего вида детали

Простой разрез детали
Простой разрез детали

Этапы построения технического рисунка
Этапы построения технического рисунка

Технический рисунок пример
Технический рисунок пример

Технический рисунок
Технический рисунок

Эскиз детали Инженерная Графика
Эскиз детали Инженерная Графика

Технический рисунок детали со штриховкой рис 71
Технический рисунок детали со штриховкой рис 71

Технический рисунок
Технический рисунок

Шатировка технический рисунок
Шатировка технический рисунок

Технический эскиз детали
Технический эскиз детали

Техническое рисование Инженерная Графика
Техническое рисование Инженерная Графика

Технический рисунок пример
Технический рисунок пример

Технический рисунок штриховка
Технический рисунок штриховка

Этапы построения технического рисунка
Этапы построения технического рисунка

Технический рисунок черчение
Технический рисунок черчение

Технический рисунок
Технический рисунок

Технический рисунок штриховка
Технический рисунок штриховка

Технология выполнения технического рисунка
Технология выполнения технического рисунка

Технический рисунок аксонометрические проекции деталей
Технический рисунок аксонометрические проекции деталей

Технический рисунок
Технический рисунок

Подшипник чугун черчение
Подшипник чугун черчение

Технический рисунок
Технический рисунок

Технический рисунок в аксонометрии черчение
Технический рисунок в аксонометрии черчение

Аксонометрических проекции трехмерные
Аксонометрических проекции трехмерные

Выполнение технического рисунка
Выполнение технического рисунка

Порядок выполнения технического рисунка
Порядок выполнения технического рисунка

Чертеж детали выполняют методом
Чертеж детали выполняют методом

Черчение технический рисунок детали со штриховкой
Черчение технический рисунок детали со штриховкой

Аксонометрическое построение детали
Аксонометрическое построение детали

Техническая деталь черчение
Техническая деталь черчение

Геометрическая форма детали
Геометрическая форма детали

Техническая деталь черчение
Техническая деталь черчение

Технический эскиз детали
Технический эскиз детали

Чертеж детали выполняют методом
Чертеж детали выполняют методом

Выполнение технического рисунка модели
Выполнение технического рисунка модели

Выполнение технического рисунка
Выполнение технического рисунка

Технический рисунок пример
Технический рисунок пример

Инженерная Графика тени технический рисунок
Инженерная Графика тени технический рисунок

Деталь для техническоготрисунка
Деталь для техническоготрисунка

Черчение 9 класс ботвинников рис 155
Черчение 9 класс ботвинников рис 155

Смотрите онлайн или можете скачать на телефон или компьютер в хорошем качестве совешенно бесплатно. Не забывайте оставить комментарий и посмотреть другие фотографии и изображения высокого качества, например крестец рисунок и ракушка рисунок из раздела Рисунки


Уважаемый посетитель, Вы зашли на сайт как незарегистрированный пользователь. Мы рекомендуем Вам зарегистрироваться либо зайти на сайт под своим именем.