Рисунки для срисовки и не только Папик.Про


щековая дробилка со сложным движением щеки рисунок для срисовки

Щековая дробилка со сложным движением щеки - это инновационное оборудование, разработанное с учетом последних технологических требований и потребностей в прочности и эффективности. Благодаря своему уникальному рисунку движения щеки, она способна эффективно размельчать различные материалы, включая камень, руду, гравий и другие твердые вещества. Сложное движение щеки позволяет равномерно распределять нагрузку на материал и обеспечивает более высокую производительность и качество конечного продукта. Безопасность и надежность работы такой дробилки также являются ее преимуществами, что делает ее неотъемлемой частью оборудования для добычи и строительства.


Принципиальная схема щековой дробилки
Принципиальная схема щековой дробилки

Структурная схема щековой дробилки
Структурная схема щековой дробилки

Механизм регулировки щели для щековой дробилки Метсо с 125
Механизм регулировки щели для щековой дробилки Метсо с 125

Щековая дробилка схема цепи аппаратов
Щековая дробилка схема цепи аппаратов

Кинематическая схема щековой дробилки со сложным движением щеки
Кинематическая схема щековой дробилки со сложным движением щеки

Принцип действия щековой дробилки схема
Принцип действия щековой дробилки схема

Схема щековой дробилки с верхним подвесом
Схема щековой дробилки с верхним подвесом

Кинематическая схема щековой дробилки со сложным движением щеки
Кинематическая схема щековой дробилки со сложным движением щеки

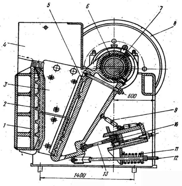
Щековая дробилка со сложным движением щеки
Щековая дробилка со сложным движением щеки

Кинематическая схема щековой дробилки со сложным движением щеки
Кинематическая схема щековой дробилки со сложным движением щеки

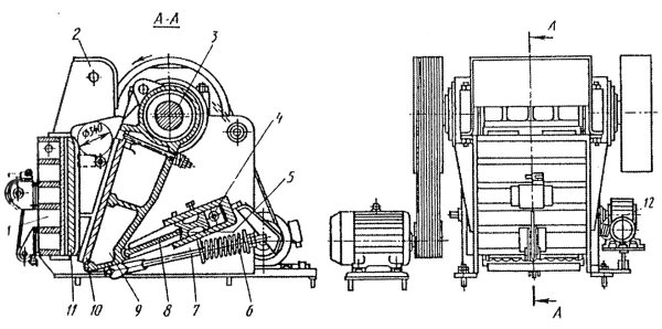
Щековые дробилки ЩДС конструкция
Щековые дробилки ЩДС конструкция

Конструкция щековой дробилки щкд 18
Конструкция щековой дробилки щкд 18

Щековой дробилки со 612
Щековой дробилки со 612

Схематический чертеж дробилки щековой
Схематический чертеж дробилки щековой

Щековая дробилка со сложным движением щеки схема
Щековая дробилка со сложным движением щеки схема

Щековая дробилка типа ЩДС схема
Щековая дробилка типа ЩДС схема

Щековая дробилка механический привод
Щековая дробилка механический привод

Схема пружинного предохранительного устройства щековой дробилки
Схема пружинного предохранительного устройства щековой дробилки


Щековые дробилки ЩДС конструкция
Щековые дробилки ЩДС конструкция

Щековая дробилка СМД 111 схема
Щековая дробилка СМД 111 схема

Дробилки Метсо конструкция
Дробилки Метсо конструкция

Щековая дробилка cj411 схема
Щековая дробилка cj411 схема

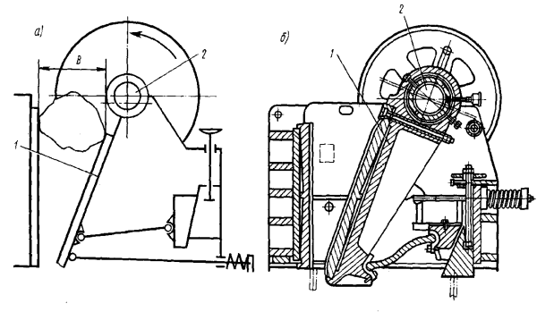
Эскиз щековой дробилки с простым качанием щеки
Эскиз щековой дробилки с простым качанием щеки

Щековая дробилка c120 чертежи
Щековая дробилка c120 чертежи


Щековые дробилки ЩДС конструкция
Щековые дробилки ЩДС конструкция

Кинематическая схема щековой дробилки со сложным движением щеки
Кинематическая схема щековой дробилки со сложным движением щеки

Щеки щековой дробилки Peg-1215
Щеки щековой дробилки Peg-1215

Шнековая дробилка схема
Шнековая дробилка схема

Кинематическая схема щековой дробилки
Кинематическая схема щековой дробилки

Щековая дробилка с125 чертеж
Щековая дробилка с125 чертеж

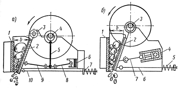
Щековая дробилка принцип работы и устройство
Щековая дробилка принцип работы и устройство

Конструкции щёк у щековой дробилки
Конструкции щёк у щековой дробилки

Щёковая дробилка спростым движением щеки
Щёковая дробилка спростым движением щеки

Кинематическая схема щековой дробилки
Кинематическая схема щековой дробилки

Кинематическая схема щековой дробилки со сложным движением щеки
Кинематическая схема щековой дробилки со сложным движением щеки

Щековая дробилка 2101500 чертеж боковых шпилек
Щековая дробилка 2101500 чертеж боковых шпилек

Щековая дробилка cj411 схема
Щековая дробилка cj411 схема

Кинематическая схема щековой дробилки со сложным движением щеки
Кинематическая схема щековой дробилки со сложным движением щеки

Дробилка со сложным качанием щеки DCJ 1000
Дробилка со сложным качанием щеки DCJ 1000

Степень дробления щековой дробилки
Степень дробления щековой дробилки

Кинематическая схема щековой дробилки
Кинематическая схема щековой дробилки

Принципиальная схема щековой дробилки
Принципиальная схема щековой дробилки

Конструкция щековой дробилки ЩДП
Конструкция щековой дробилки ЩДП

ЩДП дробилка схема
ЩДП дробилка схема

Щековые дробилки ЩДС конструкция
Щековые дробилки ЩДС конструкция

Дробилка щековая СМД 109 схема
Дробилка щековая СМД 109 схема

Смотрите онлайн или можете скачать на телефон или компьютер в хорошем качестве совешенно бесплатно. Не забывайте оставить комментарий и посмотреть другие фотографии и изображения высокого качества, например не сложный рисунок к сказке царевна лягушка и рисунки по точкам в блокноте сложные из раздела Сложные рисунки


Уважаемый посетитель, Вы зашли на сайт как незарегистрированный пользователь. Мы рекомендуем Вам зарегистрироваться либо зайти на сайт под своим именем.