Рисунки для срисовки и не только Папик.Про


рисунок простейшего трансформатора для срисовки

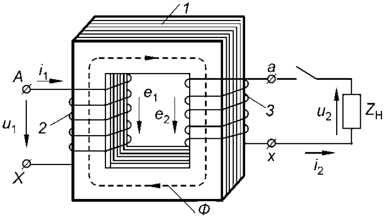
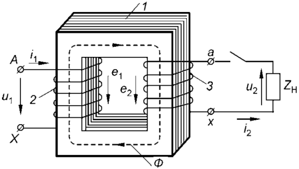
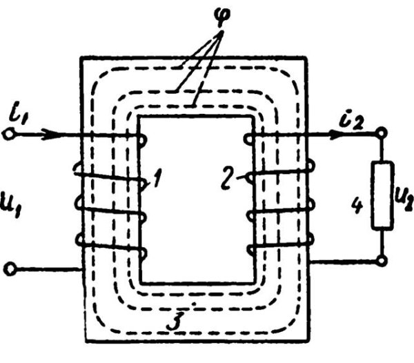
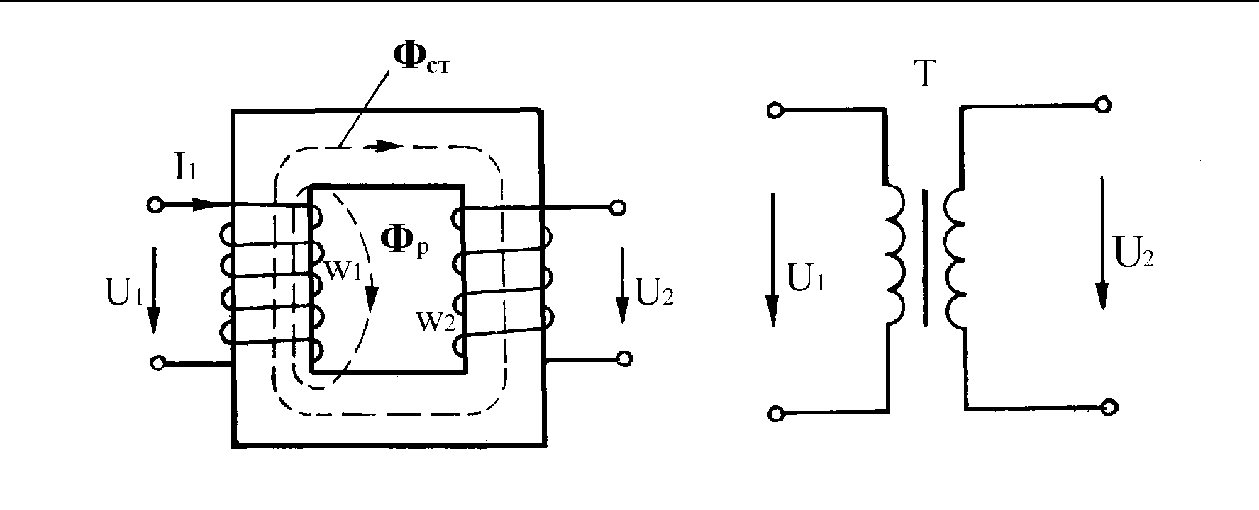
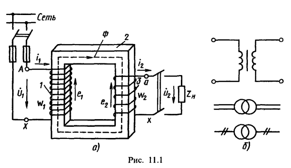
Трансформатор является одним из основных устройств в электротехнике, позволяющим изменить напряжение переменного тока. Он состоит из двух или более обмоток, обычно изолированных друг от друга. Простейший трансформатор состоит из двух обмоток: первичной и вторичной. Первичная обмотка подключается к источнику переменного тока, а вторичная - к потребителю. При этом, благодаря принципу индукции, трансформатор увеличивает или уменьшает значение напряжения с помощью соотношения числа витков в обмотках. Такая конструкция обеспечивает передачу электроэнергии по системе электроснабжения с минимальными потерями и эффективно решает задачи регулирования и распределения электрической мощности.


Пик трансформатор схема
Пик трансформатор схема

Двухфазный трансформатор схема
Двухфазный трансформатор схема

Однофазный понижающий трансформатор схема
Однофазный понижающий трансформатор схема

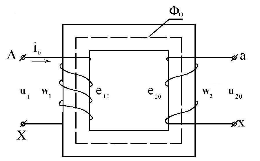
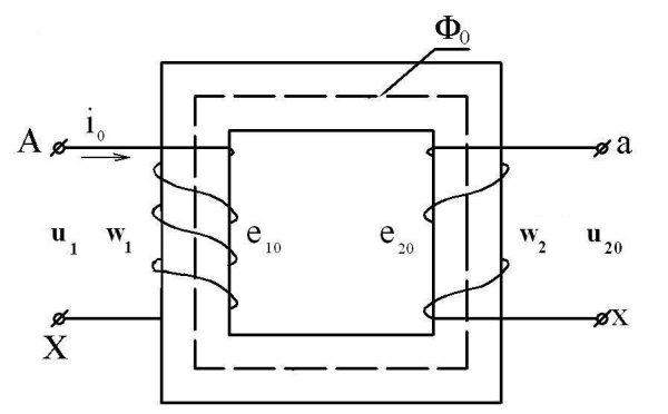
Электромагнитная схема однофазного двухобмоточного трансформатора
Электромагнитная схема однофазного двухобмоточного трансформатора

Однофазный трансформатор тока схема
Однофазный трансформатор тока схема

Однофазный двухобмоточный трансформатор схема
Однофазный двухобмоточный трансформатор схема

Схема однофазного двухобмоточного трансформатора
Схема однофазного двухобмоточного трансформатора

Трансформатор схема устройства
Трансформатор схема устройства

Трансформатор схема физика
Трансформатор схема физика

Однофазный силовой трансформатор схема
Однофазный силовой трансформатор схема

Принципиальная схема трансформатора тока
Принципиальная схема трансформатора тока

Трансформатор схема
Трансформатор схема

Однофазный трансформатор тока схема
Однофазный трансформатор тока схема

Трансформатор переменного тока схема
Трансформатор переменного тока схема

Трансформатор магнитопровод и обмотки схема
Трансформатор магнитопровод и обмотки схема

Однофазный трансформатор схема
Однофазный трансформатор схема

Принцип работы трансформатора схема
Принцип работы трансформатора схема

Схема однофазного двухобмоточного трансформатора
Схема однофазного двухобмоточного трансформатора

Трансформатор схема физика
Трансформатор схема физика

Однофазный трансформатор схема
Однофазный трансформатор схема

Токоизмерительные трансформатор схема прибора
Токоизмерительные трансформатор схема прибора

Схематический рисунок трансформатора
Схематический рисунок трансформатора

Схематическое изображение трансформатора
Схематическое изображение трансформатора

Повышающий трансформатор схема включения
Повышающий трансформатор схема включения

Простая схема трансформатора
Простая схема трансформатора

Схема простейшего трансформатора
Схема простейшего трансформатора

Трансформатор схема физика
Трансформатор схема физика

Устройство трансформатора тока схема
Устройство трансформатора тока схема

Ток во вторичной обмотке трансформатора
Ток во вторичной обмотке трансформатора

Схема действия трансформатора
Схема действия трансформатора

Электромагнитная схема однофазного двухобмоточного трансформатора
Электромагнитная схема однофазного двухобмоточного трансформатора

Принципиальная электрическая схема трансформатора тока
Принципиальная электрическая схема трансформатора тока

Исследование работы однофазного трансформатора
Исследование работы однофазного трансформатора

TFR 172 трансформатор
TFR 172 трансформатор

Строение трансформатора тока
Строение трансформатора тока

Однообмоточные катушки Вн трансформатора напряжения
Однообмоточные катушки Вн трансформатора напряжения

Принципиальная схема устройства трансформатора
Принципиальная схема устройства трансформатора

Принцип работы трансформатора схема
Принцип работы трансформатора схема

Однофазный силовой трансформатор схема
Однофазный силовой трансформатор схема

Принципиальная схема сварочного трансформатора
Принципиальная схема сварочного трансформатора

Однофазный трансформатор малой мощности чертеж
Однофазный трансформатор малой мощности чертеж

Конструкция, основные части однофазного трансформатора
Конструкция, основные части однофазного трансформатора

Трансформатор обмотки первичная и вторичная обмотка
Трансформатор обмотки первичная и вторичная обмотка

Принципиальная схема однофазного двухобмоточного трансформатора
Принципиальная схема однофазного двухобмоточного трансформатора

Повышающий трансформатор напряжения конструкция
Повышающий трансформатор напряжения конструкция

Принципиальная схема трансформатора
Принципиальная схема трансформатора

Устройство и Назначение однофазного двухобмоточного трансформатора
Устройство и Назначение однофазного двухобмоточного трансформатора

Смотрите онлайн или можете скачать на телефон или компьютер в хорошем качестве совешенно бесплатно. Не забывайте оставить комментарий и посмотреть другие фотографии и изображения высокого качества, например простые рисунки на мотоцикл и кувшинка рисунок простой из раздела Простые рисунки


Уважаемый посетитель, Вы зашли на сайт как незарегистрированный пользователь. Мы рекомендуем Вам зарегистрироваться либо зайти на сайт под своим именем.