Рисунки для срисовки и не только Папик.Про


рисунки микроскопа с подписями всех частей легкие для срисовки

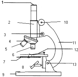
Рисунки микроскопа с подписями всех частей легкие позволяют легко и наглядно разобраться в устройстве этого сложного прибора. Микроскоп является одним из наиболее важных инструментов для научных исследований, медицинских диагнозов и образования. На рисунках можно увидеть основные элементы и механизмы микроскопа, такие как объективы, окуляры, столик для образцов, источник света и регулировочные кнопки. Подписи к каждой части помогают легко определить, какая функция выполняется и какая роль играет в работе микроскопа. Благодаря рисункам с подписями, пользователи, будь то ученики, научные работники или медицинские специалисты, могут более глубоко понять принцип работы микроскопа и использовать его с большей эффективностью.


Схема строения микроскопа
Схема строения микроскопа

Строение микроскопа схема части
Строение микроскопа схема части

Световой микроскоп строение
Световой микроскоп строение

Микроскоп вид сбоку чертеж
Микроскоп вид сбоку чертеж

Световой микроскоп строение микровинт
Световой микроскоп строение микровинт

Световой микроскоп строение
Световой микроскоп строение

Схема (рисунок) строения: – светового микроскопа;
Схема (рисунок) строения: – светового микроскопа;

Световой микроскоп строение макровинт
Световой микроскоп строение макровинт

Биология 5 кл строение микроскопа
Биология 5 кл строение микроскопа

Световой микроскоп Биолам рисунок строение
Световой микроскоп Биолам рисунок строение

Увеличительные приборы световой микроскоп 6 класс биология
Увеличительные приборы световой микроскоп 6 класс биология

Световой микроскоп рисунок
Световой микроскоп рисунок

Строение микроскопа печатать
Строение микроскопа печатать

Микроскоп вид сбоку чертеж
Микроскоп вид сбоку чертеж

Схема строения микроскопа 5 класс
Схема строения микроскопа 5 класс

Микроскоп название частей биология 5 класс
Микроскоп название частей биология 5 класс

Строение микроскопа рисунок
Строение микроскопа рисунок

Схема светового микроскопа МБР-1
Схема светового микроскопа МБР-1

Микроскоп строение и функции
Микроскоп строение и функции

Части светового микроскопа 5 класс биология
Части светового микроскопа 5 класс биология

Биологический световой микроскоп строение
Биологический световой микроскоп строение

Микроскоп вид сбоку чертеж
Микроскоп вид сбоку чертеж

Схематичный рисунок микроскопа
Схематичный рисунок микроскопа

Световой микроскоп Биолам строение
Световой микроскоп Биолам строение

Части микроскопа биология 5 класс
Части микроскопа биология 5 класс

Световой микроскоп строение
Световой микроскоп строение

Биология 5 кл строение микроскопа
Биология 5 кл строение микроскопа

Зарисовать микроскоп
Зарисовать микроскоп

Строение медицинского микроскопа
Строение медицинского микроскопа

Микроскоп строение окуляр функция
Микроскоп строение окуляр функция

Строение бинокулярного микроскопа схема
Строение бинокулярного микроскопа схема

Микроскоп карандашом с подписями легкий
Микроскоп карандашом с подписями легкий

Строение микроскопа рисунок лёгкий
Строение микроскопа рисунок лёгкий

Разукрашка световой микроскоп
Разукрашка световой микроскоп

Название частей микроскопа и их Назначение
Название частей микроскопа и их Назначение

Из чего состоит микроскоп схема
Из чего состоит микроскоп схема

Изображение микроскопа
Изображение микроскопа

Рисунок микроскопа с подписями всех частей легкий
Рисунок микроскопа с подписями всех частей легкий

Рис 14 строение микроскопа
Рис 14 строение микроскопа

Строение микроскопа рисунок конденсор
Строение микроскопа рисунок конденсор

Схематичный микроскоп
Схематичный микроскоп

Монокулярный микроскоп строение
Монокулярный микроскоп строение

Устройство светового микроскопа 5 класс
Устройство светового микроскопа 5 класс

Строение микроскопа рисунок
Строение микроскопа рисунок

Микроскоп тубус, окуляр, винты
Микроскоп тубус, окуляр, винты

Штатив микроскопа строение
Штатив микроскопа строение

Смотрите онлайн или можете скачать на телефон или компьютер в хорошем качестве совешенно бесплатно. Не забывайте оставить комментарий и посмотреть другие фотографии и изображения высокого качества, например легкие рисунки аквагрим и легкие рисунки теги из раздела Легкие рисунки


Уважаемый посетитель, Вы зашли на сайт как незарегистрированный пользователь. Мы рекомендуем Вам зарегистрироваться либо зайти на сайт под своим именем.