Рисунки для срисовки и не только Папик.Про


робот пылесос рисунок карандашом для срисовки

Робот-пылесос – это инновационное устройство, созданное для автоматической и эффективной уборки дома. Он оснащен передовыми технологиями и способен справиться с любым типом поверхности, будь то ковры, ламинат или плитка. Благодаря своей компактной конструкции и навигационной системе, робот-пылесос без проблем проходит под мебелью и вдоль стен, не оставляя нерасчищенных углов. Кроме того, он обладает функцией самозарядки, что позволяет ему автоматически возвращаться на станцию для подзарядки аккумулятора. Рисунок карандашом на корпусе робота-пылесос добавляет ему уникальности и оригинальности, делая его не только полезным помощником по уборке, но и стильным элементом интерьера вашего дома.


Робот пылесос нарисовать
Робот пылесос нарисовать

Робот пылесос иконка
Робот пылесос иконка

Робот пылесос раскраска
Робот пылесос раскраска

Робот-пылесос Foxcleaner 7007
Робот-пылесос Foxcleaner 7007

Робот пылесос схема электрическая принципиальная
Робот пылесос схема электрическая принципиальная

Робот пылесос раскраска
Робот пылесос раскраска

Пылесос Deebot 630
Пылесос Deebot 630

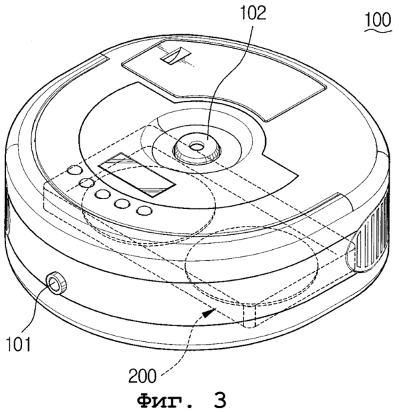
Робот пылесос самсунг чертеж
Робот пылесос самсунг чертеж

Робот пылесос раскраска
Робот пылесос раскраска

Робот пылесос AUTOCAD
Робот пылесос AUTOCAD

Разукрашка робот пылесос
Разукрашка робот пылесос

Робот пылесос рисунок
Робот пылесос рисунок

Робот пылесос раскраска
Робот пылесос раскраска

Робот пылесос VCR 16 схема шестеренок колеса
Робот пылесос VCR 16 схема шестеренок колеса

Робот пылесос раскраска
Робот пылесос раскраска

Робот пылесос вектор
Робот пылесос вектор

Sg832 робот пылесос
Sg832 робот пылесос

Робот пылесос пиктограмма
Робот пылесос пиктограмма

Робот пылесос иконка
Робот пылесос иконка

Робот пылесос раскраска
Робот пылесос раскраска

Робот пылесос раскраска
Робот пылесос раскраска

Робот рисунок
Робот рисунок

Робот пылесос проекция
Робот пылесос проекция

Робот пылесос раскраска
Робот пылесос раскраска

Робот пылесос раскраска
Робот пылесос раскраска

Roomba пылесос раскраска
Roomba пылесос раскраска

Робот пылесос нарисовать
Робот пылесос нарисовать

Робот пылесос раскраска для детей
Робот пылесос раскраска для детей

Робот пылесос раскраска
Робот пылесос раскраска

Робот пылесос значок
Робот пылесос значок

Уборщик роботы с веником
Уборщик роботы с веником

Раскраска пылесос
Раскраска пылесос




Смотрите онлайн или можете скачать на телефон или компьютер в хорошем качестве совешенно бесплатно. Не забывайте оставить комментарий и посмотреть другие фотографии и изображения высокого качества, например рисунок алеша попович карандашом и рисунок карандашом травянистое растение из раздела Рисунки карандашом


Уважаемый посетитель, Вы зашли на сайт как незарегистрированный пользователь. Мы рекомендуем Вам зарегистрироваться либо зайти на сайт под своим именем.