Рисунки для срисовки и не только Папик.Про


кристаллизатор рисунок карандашом для срисовки

Кристаллизатор рисунок карандашом - это инновационный инструмент, который позволяет превратить обычные карандаши в настоящие произведения искусства. Благодаря специальной технологии, этот уникальный прибор создает эффект кристаллизации на бумаге, добавляя глубину и оригинальность каждому рисунку. Теперь ты сможешь играть со светом и тенями, создавая потрясающие текстуры и объемные изображения. Благодаря своей простоте и удобству использования, кристаллизатор рисунок карандашом стал любимым инструментом художников всех уровней и возрастов. Открой для себя новые возможности и раскрась мир яркими и оригинальными рисунками с помощью кристаллизатора рисунок карандашом!


Кристаллизатор химическая посуда
Кристаллизатор химическая посуда

Кристаллизатор лабораторный рисунок
Кристаллизатор лабораторный рисунок

Кристаллизатор хим посуда
Кристаллизатор хим посуда

Кристаллизатор в химии рисунок
Кристаллизатор в химии рисунок

Кристаллизатор в химии рисунок
Кристаллизатор в химии рисунок

Химическая кристаллизатор рисунок
Химическая кристаллизатор рисунок

Фарфоровая химическая посуда
Фарфоровая химическая посуда

Бюкс химический рисунок
Бюкс химический рисунок

Кристаллизатор Назначение
Кристаллизатор Назначение

Фарфоровая ступка с пестиком рисунок химия
Фарфоровая ступка с пестиком рисунок химия

Кристаллизатор толстостенный
Кристаллизатор толстостенный

Тюбетейка раскраска
Тюбетейка раскраска

Кристаллизатор в химии
Кристаллизатор в химии

Посуда для растворов индикаторов
Посуда для растворов индикаторов

Кристаллизатор хим посуда
Кристаллизатор хим посуда

Кристаллизатор с выносным холодильником
Кристаллизатор с выносным холодильником

Лабораторная посуда для химической лаборатории названия 8 класс
Лабораторная посуда для химической лаборатории названия 8 класс

Кристаллизатор в химии рисунок
Кристаллизатор в химии рисунок

Кристаллизаторы картинки для срисовки
Кристаллизаторы картинки для срисовки

Перекристаллизация схема установки
Перекристаллизация схема установки

Бюкс Назначение в химии
Бюкс Назначение в химии

Тигель рисунок и Назначение в химии
Тигель рисунок и Назначение в химии

Химическая посуда схема склянки
Химическая посуда схема склянки

Делительная воронка химическая посуда рисунок
Делительная воронка химическая посуда рисунок

Лабораторная хим. Посуда и название
Лабораторная хим. Посуда и название

Химическая посуда и лабораторное оборудование
Химическая посуда и лабораторное оборудование

Скребковый кристаллизатор чертеж
Скребковый кристаллизатор чертеж

Прибор химии эксикатор
Прибор химии эксикатор

Прибор для получения газа с колбой Вюрца
Прибор для получения газа с колбой Вюрца

Пробирка с газоотводной трубкой
Пробирка с газоотводной трубкой

Химическая посуда схема хим стакан
Химическая посуда схема хим стакан

Конструктивное построение чайника
Конструктивное построение чайника

Нутч фильтр на технологической схеме
Нутч фильтр на технологической схеме

Собирание кислорода методом вытеснения воды
Собирание кислорода методом вытеснения воды

Химическая посуда капельница Шустера
Химическая посуда капельница Шустера

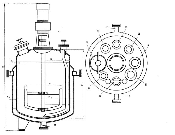
Чертеж реактора 6,3 м3
Чертеж реактора 6,3 м3

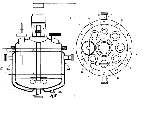
Аппарат с мешалкой чертеж 10м3
Аппарат с мешалкой чертеж 10м3

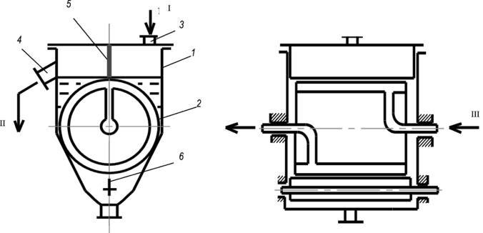
Химический реактор с якорной мешалкой
Химический реактор с якорной мешалкой

Кристаллизатор с выносным холодильником
Кристаллизатор с выносным холодильником

Выпарной кристаллизатор
Выпарной кристаллизатор

Кристаллизатор рисунок карандашом (44 фото)
Кристаллизатор рисунок карандашом (44 фото)



Смотрите онлайн или можете скачать на телефон или компьютер в хорошем качестве совешенно бесплатно. Не забывайте оставить комментарий и посмотреть другие фотографии и изображения высокого качества, например рисунок сон карандашом и одежда рисунок карандашом из раздела Рисунки карандашом


Уважаемый посетитель, Вы зашли на сайт как незарегистрированный пользователь. Мы рекомендуем Вам зарегистрироваться либо зайти на сайт под своим именем.