Рисунки для срисовки и не только Папик.Про


рисунок станка для срисовки

Рисунок станка - это графическое изображение промышленного оборудования, которое используется для выполнения различных процессов и операций. В рисунке станка обычно показываются его основные элементы, такие как рабочая поверхность, инструменты, системы управления и привода. Такой рисунок может быть использован для визуализации и понимания работы станка, а также для создания технической документации, инструкций и рекламных материалов. Он позволяет ознакомиться с конструкцией и функциональностью станка, что может быть полезным при его выборе и эксплуатации. Рисунок станка может быть создан как вручную, с помощью карандаша или чернил, так и с использованием специальных компьютерных программ и технологий. Он должен быть ясным, подробным и соответствовать всем требованиям технического описания.


Фланец токарного станка с ЧПУ sk50p
Фланец токарного станка с ЧПУ sk50p

Токарный станок с ЧПУ еен 320
Токарный станок с ЧПУ еен 320

Лазерный станок MECALASE 3020
Лазерный станок MECALASE 3020

Деревообрабатывающий станок 32мт
Деревообрабатывающий станок 32мт

Токарный станок вектор
Токарный станок вектор

Горизонтально-фрезерные станки с ЧПУ hm50td
Горизонтально-фрезерные станки с ЧПУ hm50td

Станок рисунок
Станок рисунок

Барабанно-фрезерный станок гф1080
Барабанно-фрезерный станок гф1080

Токарный станок 1е95 узел связи
Токарный станок 1е95 узел связи

Токарный станок 16 век
Токарный станок 16 век

Компоновка станков
Компоновка станков

ИТ-1м токарный станок черте
ИТ-1м токарный станок черте

Токарный револьверный станок по металлу схема
Токарный револьверный станок по металлу схема

Эскиз рабочего за станком
Эскиз рабочего за станком

16к20 станок сдвигается резец
16к20 станок сдвигается резец

Токарный станок Модсли чертёж
Токарный станок Модсли чертёж

Станина токарного станка с ЧПУ
Станина токарного станка с ЧПУ

Вертикально-фрезерный станок 6р12 чертеж
Вертикально-фрезерный станок 6р12 чертеж

Универсальный фрезерный станок схема
Универсальный фрезерный станок схема

Токарный станок узлы и механизмы
Токарный станок узлы и механизмы

Токарь для детей
Токарь для детей

Фрезерный станок 3d модель
Фрезерный станок 3d модель

Борис Арцыбашев станки
Борис Арцыбашев станки

Эскиз рабочей зоны токарного станка
Эскиз рабочей зоны токарного станка

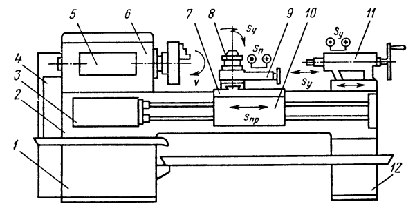
Строение токарно винторезного станка 1к62
Строение токарно винторезного станка 1к62

Печатный станок вектор
Печатный станок вектор

Токарный станок карикатура
Токарный станок карикатура

Эскиз токарного станка
Эскиз токарного станка

Старинный печатный станок
Старинный печатный станок

Эмблемы токарных станков
Эмблемы токарных станков

Токарь рисунок
Токарь рисунок

Токарный станок ЧПУ вектор
Токарный станок ЧПУ вектор

Станок вектор
Станок вектор

6н82 фрезерный станок
6н82 фрезерный станок

Станок иллюстрация
Станок иллюстрация

Цех раскраска
Цех раскраска

CNC вектор станков
CNC вектор станков

Токарно-винторезный станок 16к20 схема
Токарно-винторезный станок 16к20 схема

Фрезерный станок а387
Фрезерный станок а387

Фрезерный станок
Фрезерный станок

Токарный станок ТВ-6 чертежи
Токарный станок ТВ-6 чертежи

Приспособления для металлорежущих станков
Приспособления для металлорежущих станков

Станок вектор
Станок вектор

Плоскошлифовальный станок 3г71 основные узлы
Плоскошлифовальный станок 3г71 основные узлы

Мультяшный станок
Мультяшный станок

Круглопильный отрезной станок s-350
Круглопильный отрезной станок s-350

Смотрите онлайн или можете скачать на телефон или компьютер в хорошем качестве совешенно бесплатно. Не забывайте оставить комментарий и посмотреть другие фотографии и изображения высокого качества, например рисунок доктор стоун и погрузчик рисунок из раздела Рисунки


Уважаемый посетитель, Вы зашли на сайт как незарегистрированный пользователь. Мы рекомендуем Вам зарегистрироваться либо зайти на сайт под своим именем.