Рисунки для срисовки и не только Папик.Про


калориметр рисунок для срисовки

Калориметр – это устройство, предназначенное для измерения количества теплоты, выделяемого или поглощаемого в процессе химической реакции или физического процесса. Он состоит из изолированного сосуда, в котором находится реагент или образец, и системы, позволяющей измерять изменение температуры этого сосуда. Рисунок калориметра является наглядным представлением его конструкции и способов измерения теплоты. Благодаря калориметру ученые могут проводить точные измерения энергетических характеристик различных процессов и реакций, что позволяет им лучше понимать и контролировать физические и химические явления.


Калориметр изотермический теплопроводящий “цемент ТГЦ 1м”
Калориметр изотермический теплопроводящий “цемент ТГЦ 1м”

Изотермический калориметр схема
Изотермический калориметр схема

Лабораторный калориметр схема
Лабораторный калориметр схема

Реакционный калориметр Atlas Calorimeter
Реакционный калориметр Atlas Calorimeter

Калориметр Бунзена
Калориметр Бунзена

Калориметр схема установки
Калориметр схема установки

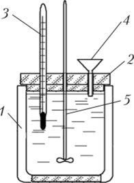
Калориметр физика 8
Калориметр физика 8

Калориметр ТПИ 2м
Калориметр ТПИ 2м

Водяной калориметр
Водяной калориметр

Лабораторный калориметр схема
Лабораторный калориметр схема

Проточный калориметр строение
Проточный калориметр строение

Ледяной каломитер будзена
Ледяной каломитер будзена

Простейший калориметр
Простейший калориметр

Лабораторный калориметр схема
Лабораторный калориметр схема

Калориметр физика 8
Калориметр физика 8

Лабораторный калориметр схема
Лабораторный калориметр схема

Калориметр физика
Калориметр физика

Калориметр строение
Калориметр строение

Калориметр схема установки
Калориметр схема установки

Калориметрическая бомба схема
Калориметрическая бомба схема

Лабораторный калориметр схема
Лабораторный калориметр схема

Калориметр схема
Калориметр схема

Лабораторный калориметр схема
Лабораторный калориметр схема

Схема электрического жидкостного калориметра
Схема электрического жидкостного калориметра

Эксперт-001к-2 калориметр
Эксперт-001к-2 калориметр

Калориметрическая бомба Бертло
Калориметрическая бомба Бертло

Калориметр схема устройства
Калориметр схема устройства

Калориметр прибор
Калориметр прибор

Лабораторный калориметр схема
Лабораторный калориметр схема

Современные калориметры
Современные калориметры

Калориметрический датчик теплового потока
Калориметрический датчик теплового потока

Ледяной калориметр Лавуазье
Ледяной калориметр Лавуазье

Калориметр чертеж
Калориметр чертеж

Прибор химии калориметр
Прибор химии калориметр

Калориметрическая бомба Бертло
Калориметрическая бомба Бертло

Калориметр строение
Калориметр строение

Ледяной калориметр Бунзена
Ледяной калориметр Бунзена

Калориметрическая бомба прибор
Калориметрическая бомба прибор

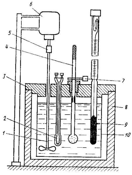
Устройство калориметра
Устройство калориметра

Калориметр физика
Калориметр физика

Тепловой эффект химической реакции схема
Тепловой эффект химической реакции схема

Ледяной калориметр Лавуазье Лапласа
Ледяной калориметр Лавуазье Лапласа

Калориметр схема
Калориметр схема

Калориметрическая бомба схема
Калориметрическая бомба схема

Смотрите онлайн или можете скачать на телефон или компьютер в хорошем качестве совешенно бесплатно. Не забывайте оставить комментарий и посмотреть другие фотографии и изображения высокого качества, например теплые рисунки и минни маус рисунок из раздела Рисунки


Уважаемый посетитель, Вы зашли на сайт как незарегистрированный пользователь. Мы рекомендуем Вам зарегистрироваться либо зайти на сайт под своим именем.