Рисунки для срисовки и не только Папик.Про


конденсационный гигрометр рисунок для срисовки

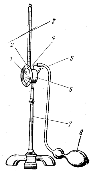
Конденсационный гигрометр - это прибор, разработанный специально для измерения относительной влажности воздуха. Он основывается на принципе конденсации, в результате которого пар воды в воздухе конденсируется на определенной поверхности. При помощи считывания этой конденсации, гигрометр позволяет определить процентную влажность воздуха. Визуальное представление этого прибора можно увидеть на рисунке, где изображена его структура и принцип работы. Конденсационные гигрометры широко используются в различных областях, таких как метеорология, климатология, строительство и контроль качества воздуха внутри помещений. Они являются надежными и точными инструментами, которые помогают поддерживать комфортный и здоровый уровень влажности в окружающей среде.


Гигрометр прибор для измерения влажности воздуха принцип работы
Гигрометр прибор для измерения влажности воздуха принцип работы

Конденсационный гигрометр схема устройства
Конденсационный гигрометр схема устройства

Конденсационный гигрометр Ламбрехта
Конденсационный гигрометр Ламбрехта

Гигрометр точки росы
Гигрометр точки росы

Конденсационный гигрометр Ламбрехта
Конденсационный гигрометр Ламбрехта

Конденсационный гигрометр Ламбрехта
Конденсационный гигрометр Ламбрехта

Конденсационный гигрометр Назначение прибора
Конденсационный гигрометр Назначение прибора

Конденсационный гигрометр гигрометр
Конденсационный гигрометр гигрометр

Гигрометр волосяной и конденсационный
Гигрометр волосяной и конденсационный

Конденсационный гигрометр Ламбрехта
Конденсационный гигрометр Ламбрехта

Конденсационный гигрометр Ламбрехта
Конденсационный гигрометр Ламбрехта

Конденсационный гигрометр строение
Конденсационный гигрометр строение

Гигрометр Ламбрехта схема
Гигрометр Ламбрехта схема

Конденсационный гигрометр схема
Конденсационный гигрометр схема

Конденсаторный гигрометр
Конденсаторный гигрометр

Конденсационный гигрометр схема
Конденсационный гигрометр схема

Конденсационный гигрометр точки росы
Конденсационный гигрометр точки росы

Конденсационный гигрометр Ламбрехта
Конденсационный гигрометр Ламбрехта

Конденсационный гигрометр Назначение прибора
Конденсационный гигрометр Назначение прибора

Гигрометр прибор для измерения влажности воздуха принцип работы
Гигрометр прибор для измерения влажности воздуха принцип работы

Конденсационный гигрометр Ламбрехта
Конденсационный гигрометр Ламбрехта

Конденсационный гигрометр волосной гигрометр психрометр таблица
Конденсационный гигрометр волосной гигрометр психрометр таблица

Конденсационный гигрометр физика 8 класс
Конденсационный гигрометр физика 8 класс

Конденсационный гигрометр Ламбрехта
Конденсационный гигрометр Ламбрехта

Конденсационный гигрометр физика 8 класс
Конденсационный гигрометр физика 8 класс

Весовой механический и конденсационный гигрометр
Весовой механический и конденсационный гигрометр

Принцип действия конденсационного гигрометра
Принцип действия конденсационного гигрометра

Конденсационный гигрометр схема
Конденсационный гигрометр схема

Как работает конденсационный гигрометр
Как работает конденсационный гигрометр

Весовой гигрометр схема
Весовой гигрометр схема

Конденсационный гигрометр устройство
Конденсационный гигрометр устройство

Конденсационный гигрометр Ламбрехта
Конденсационный гигрометр Ламбрехта

Конденсиационныйгигрометр Ламберта
Конденсиационныйгигрометр Ламберта

Гигрометр схема прибора
Гигрометр схема прибора

Конденсационный гигрометр измеряет
Конденсационный гигрометр измеряет

Конденсационный гигрометр Ламбрехта
Конденсационный гигрометр Ламбрехта

Гигрометр конденсационный и волосной
Гигрометр конденсационный и волосной

Способы определения влажности воздуха 8 класс физика
Способы определения влажности воздуха 8 класс физика

Конденсационный гигрометр физика 8 класс
Конденсационный гигрометр физика 8 класс

Психрометр конденсационный гигрометр волосной гигрометр
Психрометр конденсационный гигрометр волосной гигрометр

Гигрометр волосяной и конденсационный
Гигрометр волосяной и конденсационный

Приборы для измерения влажности конденсационный гигрометр
Приборы для измерения влажности конденсационный гигрометр

Конденсационный гигрометр схема
Конденсационный гигрометр схема

Конденсаторный гигрометр рисунок
Конденсаторный гигрометр рисунок

Конденсационный гигрометр физика 8 класс
Конденсационный гигрометр физика 8 класс




Смотрите онлайн или можете скачать на телефон или компьютер в хорошем качестве совешенно бесплатно. Не забывайте оставить комментарий и посмотреть другие фотографии и изображения высокого качества, например улитка рисунок и попугай рисунок из раздела Рисунки


Уважаемый посетитель, Вы зашли на сайт как незарегистрированный пользователь. Мы рекомендуем Вам зарегистрироваться либо зайти на сайт под своим именем.