Рисунки для срисовки и не только Папик.Про


одк плакат штангенциркуль

Штангенциркуль - это инструмент, который широко используется в металлообработке и других областях, где требуется точное измерение размеров и длин. Одк плакат предлагает своим клиентам качественные и надежные штангенциркули, которые отличаются прочностью и точностью измерений. Благодаря удобной конструкции и простоте использования, эти инструменты станут незаменимыми помощниками при проведении различных измерений. Штангенциркули от Одк плакат предоставляют возможность получить точные значения размеров и длин, что является важным фактором для достижения высокой точности и качества в работе. Приобретая штангенциркуль от Одк плакат, вы можете быть уверены в его надежности и долговечности, что делает его отличным выбором для профессионалов и любителей.


31611 Штангенциркуль 150 мм электронный Matrix
31611 Штангенциркуль 150 мм электронный Matrix

Как замерить диаметр арматуры штангенциркулем
Как замерить диаметр арматуры штангенциркулем

ШЦ 1 составные части
ШЦ 1 составные части

Штангенциркуль с круговой шкалой ШЦК-1-150
Штангенциркуль с круговой шкалой ШЦК-1-150

Карта технологического процесса дефектации колесной пары
Карта технологического процесса дефектации колесной пары

ПАО «ОДК-Уфимское моторостроительное производственное объединение»
ПАО «ОДК-Уфимское моторостроительное производственное объединение»

Презентации ОДК для студентов
Презентации ОДК для студентов




Штангенциркуль ШЦЦ 1 чертеж
Штангенциркуль ШЦЦ 1 чертеж

Техпроцесс обработки детали муфта
Техпроцесс обработки детали муфта

Объединенная двигателестроительная Корпорация структура
Объединенная двигателестроительная Корпорация структура

Штангель циркуль разметочный 1000мм деревянный
Штангель циркуль разметочный 1000мм деревянный

Штангенциркуль Mitutoyo с индикатором часового типа
Штангенциркуль Mitutoyo с индикатором часового типа

Штангенциркуль ШЦ-I-125-0,1-1
Штангенциркуль ШЦ-I-125-0,1-1

Как мерить штангенциркулем 0.05 мм
Как мерить штангенциркулем 0.05 мм


Технология цифровой двойник
Технология цифровой двойник

Шкала нониуса штангенциркуля с 0.1
Шкала нониуса штангенциркуля с 0.1

Штангенциркуль ШЦ-I-150 0,1
Штангенциркуль ШЦ-I-150 0,1

Как правильно мерить диаметр трубы штангенциркулем
Как правильно мерить диаметр трубы штангенциркулем

Как пользоваться штангенциркулем 0.2 мм
Как пользоваться штангенциркулем 0.2 мм

Mw142-20, Moore&Wright-142 Series-Dial callipers
Mw142-20, Moore&Wright-142 Series-Dial callipers

Акционерное общество «ОДК-газовые турбины» (АО «ОДК-ГТ»)
Акционерное общество «ОДК-газовые турбины» (АО «ОДК-ГТ»)

Схема авиадвигателя Пд-14
Схема авиадвигателя Пд-14

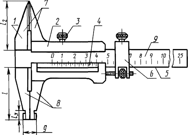
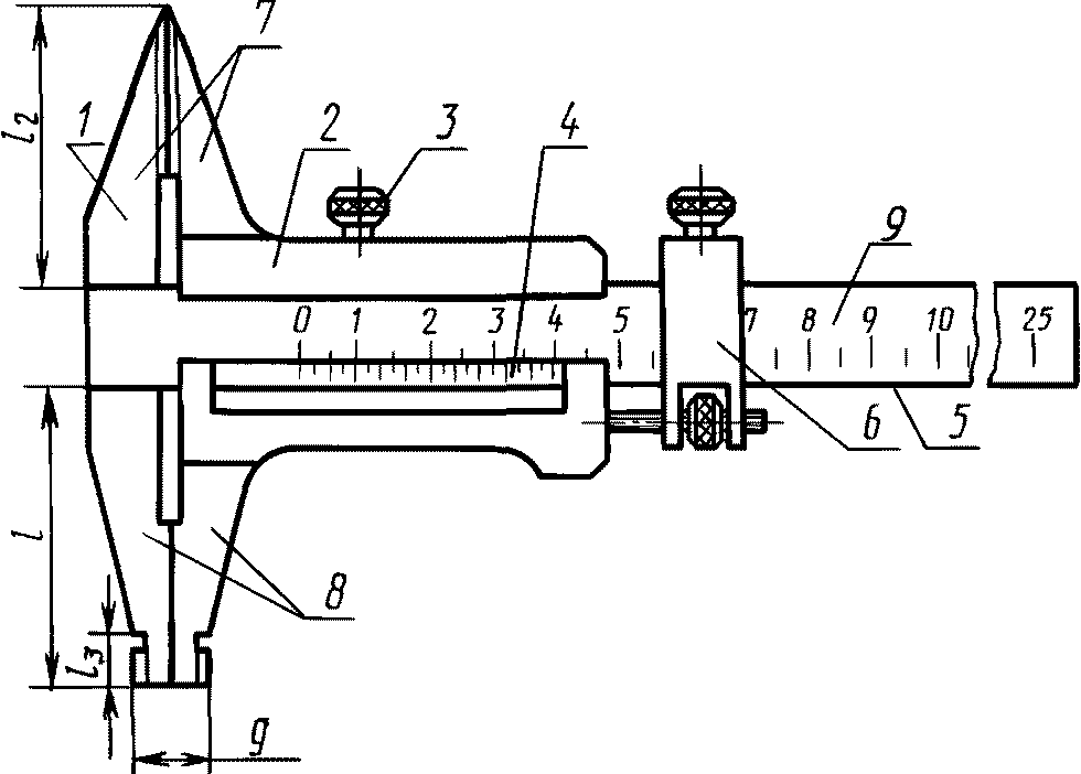
Из чего состоит штангенциркуль ШЦ-1
Из чего состоит штангенциркуль ШЦ-1

Схема измерения штангенциркулями шц2
Схема измерения штангенциркулями шц2

Штангенциркуль ШЦ-250-0.1
Штангенциркуль ШЦ-250-0.1

Штангенциркуль чиз ШЦ-2-200
Штангенциркуль чиз ШЦ-2-200

Калибры гладкие классификация гладких калибров и их Назначение
Калибры гладкие классификация гладких калибров и их Назначение

Штангенциркуль CNIC 150
Штангенциркуль CNIC 150

Штангенциркуль Калибр vernier150mm
Штангенциркуль Калибр vernier150mm

Измерение линейных размеров штангенциркулем ШЦ-1
Измерение линейных размеров штангенциркулем ШЦ-1


Штангенциркуль аег8700-1318
Штангенциркуль аег8700-1318

Как мерить отверстия штангенциркулем
Как мерить отверстия штангенциркулем

Плазматрон MMG am ls3a
Плазматрон MMG am ls3a

Штангенциркуль ШЦ-2 схема
Штангенциркуль ШЦ-2 схема

Штангенциркуль чиз ШЦК-1-250
Штангенциркуль чиз ШЦК-1-250

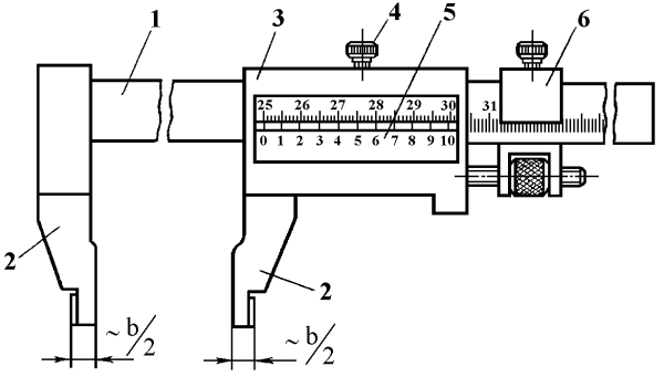
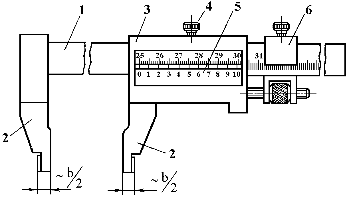
Штангенциркуль типа ШЦ-1 схема
Штангенциркуль типа ШЦ-1 схема

Штангенциркуль ШЦ-1 схема
Штангенциркуль ШЦ-1 схема

Штангенциркуль логотип
Штангенциркуль логотип

Манжета стенового ввода узел установки
Манжета стенового ввода узел установки

Строение штангенциркуля ШЦ 1
Строение штангенциркуля ШЦ 1

Смотрите онлайн или можете скачать на телефон или компьютер в хорошем качестве совешенно бесплатно. Не забывайте оставить комментарий и посмотреть другие фотографии и изображения высокого качества, например маяковский плакаты роста и плакат учись отлично из раздела Плакаты


Уважаемый посетитель, Вы зашли на сайт как незарегистрированный пользователь. Мы рекомендуем Вам зарегистрироваться либо зайти на сайт под своим именем.
Ваше имя: *
Ваш e-mail: *
  • Смайлы и люди
    Животные и природа
    Еда и напитки
    Активность
    Путешествия и места
    Предметы
    Символы
    Флаги
Код: Кликните на изображение чтобы обновить код, если он неразборчив
Введите код: